1 引言
微波通信系统的发展对发射机输出功率和带宽的要求越来越高,微波单片集成电路(MMIC)的输出功率有限,电真空器件虽然能够提供大的输出功率,但有体积大、供电电压高、稳定性差、寿命不长等缺点,为了获得更大功率输出,往往需要采用功率合成技术。
矩形金属波导相对微带结构具有功率容量高和低损耗的特性,将其用于功率分配/合成网络能够有效地提高功率合成效率;常用的波导功分/合成结构有T分支、Y分支、波导定向耦合器、波导分支线耦合器及魔T等,其中波导T分支结构简单、尺寸小、应用灵活,但传统的波导T分支匹配方式无法实现宽带,若想覆盖整个波导波段需采用一些特殊的匹配方式。
目前,大多数固态器件(MIC,MMIC)都基于平面电路应用,其中最广泛的为微带结构,采用波导—微带过渡可以有效地将平面电路与波导系统相连。其中,波导—微带探针过渡具有结构紧凑、容差好等特点,特别是在采用多探针结构时,能够在实现波导—微带转换的同时完成功分,具有合成效率高、体积小的优点。
基于以上考虑,本文提出了一种采用波导E-T分支宽带功分器与波导—微带四探针过渡相结合的功率合成方案,实测结果表明,功率合成网络可覆盖整个Ku频段。
2 E-T分支波导功分器
2.1 理论分析
波导E面分支是在主波导宽边面上的分支,其轴线平行于主波导模的电场方向,是一种串联分支,结构如图2-1所示,E-T分支具有如下特性:
当信号由端口1输入时,端口2和3都有输出且反相;
当信号由端口2输入时,端口1和3都有输出;
当信号由端口3输入时,端口1和2都有输出;
当信号由端口2和3同相输入时,端口1的对称面上可得到电场驻波波腹,端口1输出最小;当信号由端口2和3反相输入时,端口1的对称面上可得电场波节,端口1输出最大。由于E-T支是由波导的宽边分支出来的,主波导宽边上的壁面电流与分支臂上宽边壁面电流是连续的。因此,如果传输TE10波的主波导用双线代替,则分支臂就等效为一个串联双线,可用一电抗表示,其简化等效电路图2-2所示:

图2-1 E-T分支

图2-2 E-T分支的简化等效电路
如果考虑到接头处高次模的影响,则等效电路如图2-3所示。

图2-3 等效电路图
2.2 宽带波导E-T分支结构
传统的波导T分支匹配方式无法实现宽带,这里将主波导的高度减半,在接头处加入电容性台阶抵消等效电路2-2中的电抗,从而实现宽带匹配,仿真模型和结果如图2-4、2-5所示。

图2-4 宽带E-T分支结构图

图2-5 宽带E-T分支仿真结果
仿真结果表明,输入口回波在整个Ku频段内小于-28dB,输出幅度一致。
3 网络设计
3.1 微带—波导E面四探针过渡
微带—波导过渡在进行传输线转换的同时完成功分,为了增加功分的路数,在常见的波导双探针基础上增加两个探针,四根探针头顶头,面对面放置,沿波导轴线方向对称,探针中心距离波导短路面约1/4波导波长,如图3-1所示。

图3-1 微带—波导E面四探针过渡

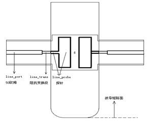
图3-2 微带探针结构示意图
由于波导的高度减半,若按传统探针结构设计则两顶头探针的间距d太小导致加工困难,稳定性差。这里将插入波导部分的探针向两边弯折,通过优化可使d的值满足结构要求,其结构如图3-2所示。
3.2 波导E-T分支八路功分/合成网络设计
将图2-4的宽带波导E-T分支与3.1中的E面四探针相结合,即可完成八路波导功分,仿真模型和结果如图3-3、3-4所示。

图3-3 波导八路功分器模型

图3-4 八路功分器仿真结果
背靠背实物照片及测试结果如图3-5、3-6所示

图3-5 实物照片

图3-6 背靠背实测结果
测试结果表明,在整个Ku频段内输口回波损耗小于-10dB,单边插损小于0.8dB,按照
计算,合成效率大于83%。
4 结论
本文研制了一种可覆盖整个Ku频段(12-18GHz)的8路宽带功率合成网络,其在整个Ku频段输入口回波损耗小于-10dB,合成效率大于83%,对多路功率合成网络的设计具有一定的参考价值。