简介
EM35x片上系统 (SoC)/网络协同处理器 (NCP)
EM351 和 EM357 Ember® ZigBee 芯片是业内领先的基于 ARM Cortex-M3 的 ZigBee 片上系统系列,在一个紧凑的封装内提供了无与伦比的性能、功耗和代码密度。EM351 和 EM357 结合了一个 2.4 GHz IEEE 802.15.4 无线电收发器与一个 32–位微处理器、闪存和 RAM,具有受硬件支持的强大的网络级调试功能。这些设备结合了 ARM 工具的强大生态系统,使 OEM 可以简化开发过程,并缩短上市时间。
EM351 和 EM357 片上系统与 EmberZNet PRO 紧密集成,EmberZNet PRO 是兼容 ZigBee 的网状网络软件,是市面上部署最广泛的 ZigBee 市场平台。
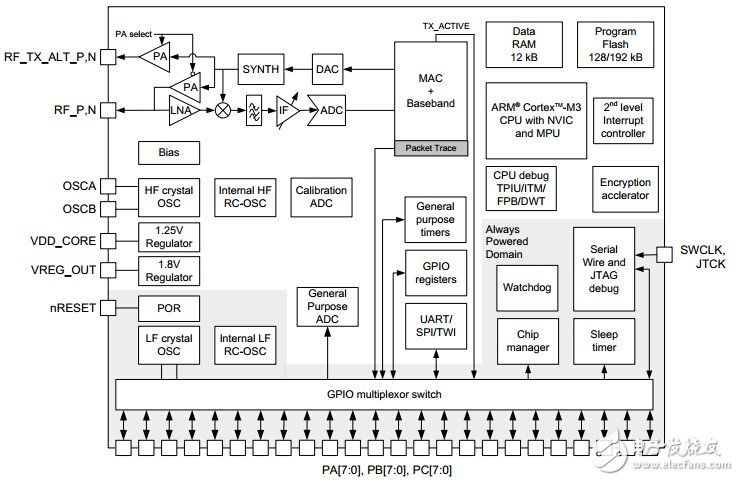
功能框图

引脚图

特点:
• 行业领先的基于 ARM Cortex M3 的 ZigBee 片上系统系列
• 卓越的射频性能
• 提供 128kB (EM351) 和 192 kB (EM357) 闪存变体
• 12 kB RAM
• 代码密度高,以适于最复杂的应用
• 最低深睡眠电流和多个待机模式
• 抗扰度出色,可与其他 2.4 GHz 设备实现可靠的共存
• 内置内存保护
• 灵活的天线接口支持简单天线连接,无论有无 PA
• Flash 保证具有 20,000 写入周期、通过 SIM-EEPROM 提高了令牌存储能力
• AES 128 硬件加密引擎与真正的随机数字发生器
• 受硬件支持的网络级调试与数据包追踪端口
• 可以作为 ZigBee 协调器、路由器或终端设备
应用:
• 智能能源
• 家庭自动化
• 安全监控和自动化 (SMA)
• 照明控制
• 楼宇自动化
• 工业自动化
典型应用电路

应用电路材料清单:

设计案例
EM35x和RFMD RF6525/RF6515前端模块(FEM)参考设计

图.EM35x和RFMD RF6525前端模块(FEM)电路图

图.EM35x和RFMD RF6525前端模块(FEM)参考设计方框图

图.EM35x和RFMD RF6525前端模块(FEM)参考设计方框图(1)

图.EM35x和RFMD RF6525前端模块(FEM)参考设计方框图(2)

图.EM35x和RFMD RF6525前端模块(FEM)参考设计方框图(3)