0 引言
NIOSⅡ是Altera公司推出的第二代IP软核处理器。它与其他IP核可构成SOPC系统的主要部分。Altera SOPC Builder提供有NiosⅡ处理器及一些常用外设接口,因此,对于一些库中没有提供的模块,用户就可以自己定义添加。用户还可以通过自定义逻辑方法在 SOPC设计中添加自己开发的IP核。而定制用户逻辑外设是使用NiosⅡ嵌入式软核处理器的SOPC系统的重要特性之一。
本文提出了一种针对LCD控制器和矩阵键盘的IP核的设计方法。该方法利用SOPC Builder中元件编辑器Create New Component,通过自定义逻辑方法在SOPC设计中添加自己开发的液晶显示模块和键盘IP核。该控制器具有Avalon总线接口,可与其它标准IP 核一起构成以NiosⅡ为核心的片上系统,并可编写驱动程序。
1 键盘和显示电路的硬件设计
键盘采用4×4行列式键盘,其4根行输入线KEY0~KEY3和4根列输出线KEYSCAN0~KEYSCAN3与键盘接口电路相连,每行信号线使用上拉电阻接到3.3 V电源上。液晶显示采用的是THSl2864-12显示模块。HSl2864-12是一种图形点阵液晶显示器,液晶显示屏为128×64点阵,可显示4 行,每行显示8个汉字,该模块具有2MB的中文字型ROM,可提供8192个16×16点阵中文字型。同时,为了便于英文和其它常用字符显示,它还具有 16 KB半宽字型ROM,提供有128个16×8点阵的字母符号字型;另外,绘图显示画面还可提供一个64×256点阵的绘图区域(GDRAM)及240点的 ICONRAM,可以和文字、画面混合显示,其内含的CGRAM可提供4组软件可编程的16×16点阵造字功能。其键盘电路和显示模块接口电路如图1所示。

2 键盘扫描电路的程序设计
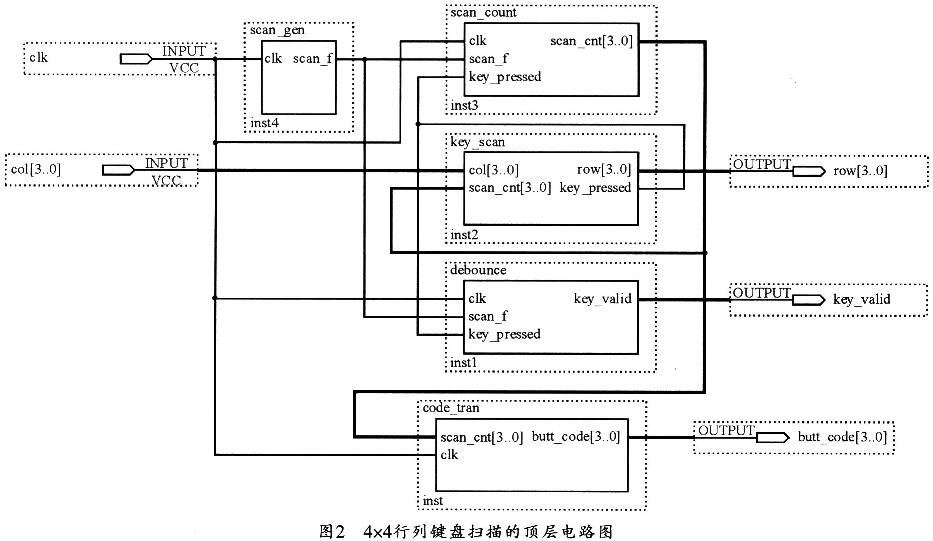
行列式键盘又叫矩阵式键盘,它用带有I/O口的线组成行列结构,按键设置在行列的交点上。传统矩阵键盘大多使用软件驱动控制,即在程序中循环扫描查询键盘的状态,以判断是否有键按下,这种方法比较耗费CPU资源,而且查询扫描结果可能出现误码。本文提出了一种新的用硬件描述语言在FPGA中实现矩阵键盘控制的方法。该方法使用时序电路扫描查询键盘,在发现键按下的时候,可给出相应的键码和中断信号,并以中断的方式处理按键。矩阵键盘扫描分4个时序,在每一个时序,KEY0~KEY3(四根行线线)端口分别输出1110、1101、1011、0111扫描码,并分别控制一列按键接地,同时在每个时序查询 KEYSCAN0~KEYSCAN3(四根列线)端口。
图2所示是一种4×4行列结构的键盘扫描电路,它由分频器电路、键盘扫描计数电路、键盘行(row)列(col)按键检测电路、按键抖动消除电路、键盘编码电路等组成。

设计好键盘的硬件控制程序以后,键盘控制程序可封装为参数可配置的用户自定义外设组件,以在SOPCBuilder中直接添加使用。完成KEYS器件的加入后,KEYS器件就会出现在SOPCBuilder的组件选择栏的“User Logic”项目下,最后在NiosⅡIDE中设计矩阵键盘的驱动程序,安装键盘按键中断,编写按键中断服务程序,从而通过按键中断获取相应按键的键盘码。其例程如下:
/*初始化键盘中断*/

3 LCD显示模块的程序设计
在NiosⅡ和LCD的接口中,一方面可以通过在NiosⅡ系统中添加相应I/O口的方式来实现对液晶显示屏LCD的间接控制,另一方面也可以利用构建 IP核来直接进行控制。第一种是将LCD接口当作普通的外部设备PIO进行操作,LCD的数据以及读、写使能、片选信号等都包括在PIO总线内;第二种是在SOPC Builder中自己定义eomponent,并把液晶显示模块看成外部存储器,直接做成Avalon总线Slave设备。
第一种方法在硬件工程中,需要设计与外设相连的I/O接口;而在软件工程中,需要用户编写相应的接口程序对外设进行初始化,设置相应的外设寄存器。在每次新建一个工程后,这样的工作都得重复进行,因而会增加开发成本。第二种方案需要写HDL模块,自己定义控制状态、数据寄存器和控制位,这种方式控制灵活,易于实现复杂的控制时序,而且一旦自定义设备成功后,就可以像使用其他设备一样来使用这些设备。用户也可以将这些设备共享给其他的使用者,这样就大大减少了重复工作。本设计中采用第二种方法。
在Altera SOPC Builder中双击Create NewComponent,打开Component窗口,并在HDL Files标签下添加LCD硬件描述语言编写的文件(该文件描述了组件与Avalon总线的接口以及组件与液晶屏的接口),系统编辑器就会立即自动对文件进行分析,并从文件中读I/O信号和参数信息。Lcd 12864自定义逻辑信号如图3所示。

完成LCD_12864器件的加入后,LCD_12864器件就会出现在SOPC Builder的组件选择栏的“User Logic”项目下。图4所示是LCD模块的管脚分配图。

LCD模块的初始化就是对LCD进行模式设置。由于SOPC Builder中的LCDl2864控制模块已经考虑了LCD的读写时序,所以使用NIOSⅡIDE进行LCD驱动和控制时只需对LCD进行初始化。其部分初始化子程序如下:

之后,打开NiosⅡIDE,创建软件工程,编写test程序,即可测试验证液晶模块的显示结果。其中部分程序如下:

4 结束语
本设计最后经过测试证明,矩阵键盘按键中断响应准确无误。由于其扫描过程由硬件实现,无需占用CPU资源,故可大大提高系统的性能,LCD可以接收任意中英文的输入显示。在开发设计过程中,矩阵键盘和LCD接口均封装为用户自定义的外设组件加入SOPCBuilder的元件库中,因而可以很方便地在其他系统中根据实际情况添加使用。用户也可以将这些设备共享给其他的使用者,这样就大大减少了重复工作。与其他方法相比,该方法无疑是一种更高效、灵活和低成本的开发方法,同时体现出了SOPC片上可编程系统的灵活、方便、可重用的优势。