OFweek工控网讯:基于PLC的上网计时器制作ADSL是目前采用得最多的宽带接入方式。不少用户利用ADSLMO-DEM的路由功能实现多台用PLC制作上网计时器电脑共享上网,以减少上网费。对于网络运营商提供的多种资费标准,除了包月使用的用户以外,都存在上网计时问题。
一般上网计时都是用电脑计时软件来实现,这些软件均是针对以拨号方式上网的单台电脑,对于利用ADSLMODEM的路由功能实现多台电脑共享上网的方式,目前还没有很好的计时办法。因ADSLMODEM工作在路由方式时,只要接通MODEM电源,MODEM就会自动进行拨号连接网络,因此要计算上网时间,必须计算ADSLMO-DEM的通电时间。
笔者用PLC制作了一个上网计时装置,用来监视和控制共享上网时间。
现以某小型办公场所两台电脑共享上网为例,标准为240小时/每月,使用时间定为从早上8时至晚上24时来进行介绍。
二、PLC的接线
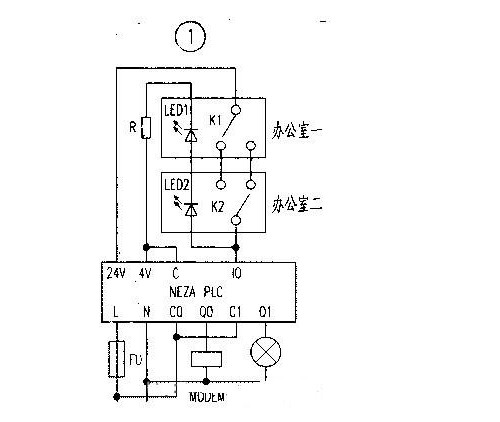
这里选用施耐德的NEZATSX04CD06R8A小型PLC(带时钟功能)和IHMI TSX08H02M两行中文文本显示器。PLC接线如图l所示,电源为AC220V。ADSLMODEM的电源由PLC的输出接点Q0.0控制,报警输出由PLC的Q0.1控制,开始计时由输入接点10.0采用双控开关控制,两只开关分别安装在两台有电脑的办公室,并设有相应的工作指示灯。当10.0接通时,若条件满足,则Q0.0接通,这样两个办公室就可以根据各自的上网需要来开启或关闭ADSL

MODEM的电源了。HMI文本显示器的电源为DC24V.经过TSX08HMRUNCAB电缆与PLC连接,与NEZATSX04CD06R8A
PLC通过默认的通讯协议通讯,每天和每月的可使用时间通过HMI进行设定。
三、程序设计
计时器的主要作用是控制每月上网时间不超过240小时,即平均每天的使用时间不超过8小时。而两台电脑是按需要各自上网的,上网时段和时间基本上没有规律,可能错开,也可能相互重叠;有时一天可能会使用十几小时,有时一天只用一两个小时。为了合理地控制上网时间,该上网计时器应该具备以下功能:
1.对当天的上网时间进行累计并显示在HMI上,每24小时复位一次。复位时间设为早上8时;2.对当月的上网时间进行累计,并计算出当月每天平均使用时间(当月累计上网小时数)/(该月已过去的天数)显示在HMI上,每月复位一次,复位时间为每月1日早上8时;3.若当天使用时间大于8小时则报警,但仍可以继续使用;4.若当天使用时间大于8小时,且该月每天的平均使用时间也大于8小时,则PLC切断MODEM的电源,不能继续上网;5.显示当月剩余的可上网小时数。
根据上述要求设计的部分PLC程序梯形图如图2所示。

PLC带有时钟功能,通过PLC的调度模块,将允许工作时间设为从早上8时到晚上24时,其他时间禁止工作。调用系统字%SW50-%SW53来显示当前的时间和日期,每天早上8时的复位功能通过调用系统字%SW51来实现,每月1目的复位功能通过调用系统字%SW52来实现。由于PLC只提供分钟脉冲信号,且计数器预置值最大为9999,每月240小时(14400分钟)已超出了其预置范围。因此需要构建一个10分钟时基发生器,用于计算每月累计上网时间,即每月240小时转化为1440个10分钟,而每天累计时间最大不超过1440分钟,故仍采用%S7(分钟脉冲信号)作为计数时基。为了方便使用者观察,PLC计算所得的数值料***分钟、***十分钟在送到HMI(文本显示器)时,利用HMI组态软件的工程量转换功能,转换为以***小时和***天的格式显示出来。
四、使用说明
开启ADSL
MODEM的路由功能,用一个五口的HUB(以太网集线器)将要上网的几台电脑连接好,并进行相关配置,组成一个小型局域网。合上双控开关中的任一个,PLC的输出接点Q0.0接通,ADSLMODEM得电与网络连接。HMI显示当前时间日期、当天上网时间累计、当月上网时间累计,并以倒计数的方式显示本月剩余上网时间。若上网时间超过设定时间,则报警灯闪烁(报警灯以每秒一次的频率闪烁一分钟)或切断MODEM电源,同时HMI将显示出错原因。