一种用于音频Σ-ΔA-D转换器的CMOS带隙电压基准源.pdf
        
        
           
           
                  时间:12-16 11:05
                  查看:1971次
                  下载:162次
           
           
                      
           
		          
                   简介:
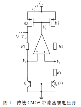
在传统带隙基准电压源电路结构的基础上,通过在运放中引入增益提高级,实现了一种用于音频Σ-ΔA/D转换器的CMOS带隙电压基准源。在一阶温度补偿下实现了较高的电源抑制比(PSRR)和较低的温度系数。该电路采用SIMC 0.18-μm CMOS工艺实现。利用Cadence/Spectre仿真器进行仿真,结果表明,在1.8 V电源电压下,-40~125 ℃范围内,温度系数为9.699 ppm/℃;在27 ℃下,10 Hz时电源抑制比为90.2 dB,20 kHz时为74.97 dB。
